137-2354-9851
1、適用范圍:
適用于滅火系統全淹沒噴嘴噴射特性試驗。
適用于GB25972-2010標準附錄C“滅B類正庚烷火和A類木垛表面火的滅火濃度確定試驗”
2、符合標準
2.1符合GB25972-2010《氣體滅火系統及部件》第6.20全淹沒噴嘴噴射特性試驗和附錄C“滅B類正庚烷火和A類木垛表面火的滅火濃度確定試驗方法”;
2.2符合GB16669-2010《二氧化碳滅火系統及部件通用技術條件》第6.20全淹沒噴嘴噴射特性試驗;
2.3符合GA400-2002《氣體滅火系統及零部件性能要求和試驗方法》第6.19全淹沒噴嘴噴射特性試驗;
3、主要技術參數:
3.1儀器組成:由試驗室、試驗空間測量儀器、連接管道、燃料盤、滅火系統(瓶組)、數據采集和控制系統組成;
3.2試驗室:(需方自備)
3.2.1試驗空間:高4.0米,長5.0米,寬5.0米;
3.2.2試驗室建成:采用防火材料磚墻建成;
3.2.3泄壓口:在試驗室3/4的空間高度以上或頂部,每面墻開有長0.5米,寬0.3米的泄壓口;
3.3試驗空間測量儀器:
3.3.1氧濃度測量
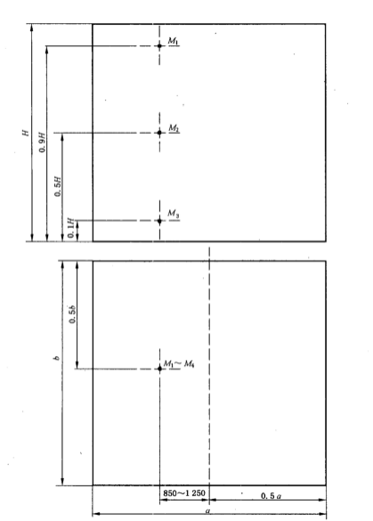
3.3.1.1氧濃度測量點布置:見圖2.三個取樣點與試驗空間中心的水平距離在1000mm,距離地面高度分別為0.4米,2米,3.6米。共3個氧濃度測量;
3.3.1.2采用耐高溫氧濃度測量儀,帶RS485接口;
3.3.1.3量程范圍:0~25%;
3.3.1.4分辨率:0.01%VOL;
3.3.1.5精度:≤±3%;
3.3.1.6重復性:≤±3%;
3.3.1.7零點漂移:≤±1%(F.S/年);
3.3.1.8響應時間:≤20s(T90);
3.3.1.9工作溫度:0~700°C(傳感器工作溫度);
3.3.1.10安裝方式:壁掛管道一體式。
圖2、氧測量點布置圖(M1~M3為氧取樣點,a為試驗室長,b為試驗室寬)
3.3.2溫度測量:
3.3.2.1溫度測量點位置:共四支,與試驗空間中心的水平距離在1000mm,距離地面高度為2.0米;另五支為GB25972附錄C標準,第1支水平距離油盤邊緣1000mm,高度與油盤口平行,第2支距油盤正上方100mm,第3支距油盤正上方3600mm,第4支用于液化滅火劑時,記錄噴嘴噴口位置溫度,第5支記錄木垛表面溫度;
3.3.2.2溫度傳感器:采用K型熱電偶,直徑為1.0mm;
3.3.2.3溫度測量范圍:0~1100°C;
3.3.2.4采用溫度模塊采集溫度,時間常數<1S;
3.3.3噴嘴壓力測量:
3.3.3.1安裝位置:壓力傳感器距離噴嘴0.9米;
3.3.3.2采用壓力傳感器,輸出4~20mA電流信號;
3.3.3.3測量范圍:0~25MPa,精度≥0.5%;
3.3.4燃料罐滅火時間觀察:
3.3.4.1采用測溫法,當溫度低于設定值,即判定為滅火;
3.3.4.2燃料罐滅火時間:0~999s,誤差為1s/h;
3.4連接管道:適用于全淹沒噴嘴最大值為DN50(ZQTG50型噴嘴);
3.5燃料盤:
3.5.1材質:采用壁厚為6mm USU304#不銹鋼;
3.5.2燃料罐規格:內徑為80mm±5mm,高度為100mm的鋼質圓形罐;
3.5.3適用于GB26972附錄C“滅B類正庚烷火和A類木垛表面火”油盤:500mm正方形,深度為100mm;木垛為云杉或冷杉(需方自備)
3.5.4燃料:
3.5.4.1燃料:為正庚烷,初餾點為+90°C,50%為+93°C,干點為96.5°C,密度(+15.6°C)為700kg/m3±50kg/m3;
3.5.4.2燃料份量:燃料罐底部墊水,正庚烷深度為50mm,液面距燃料罐口40mm;
3.5.5燃料罐安裝位置:燃料罐共九個,其中八個燃料罐置于試驗空間四墻面對角位置,四上四下交錯放置,下角燃料罐置于地面上,距墻50mm,上角燃料灌口距吊頂300mm,距墻50mm,另外一個燃料罐放置在擋板后面的地面上;
3.5.6擋板:在噴嘴與燃料罐之間設置一個與試驗空間同高的擋板,擋板寬度為試驗空間寬度的20%;
3.6滅火系統(瓶組):(由送檢方提供)
3.6.1滅火劑噴放時間:七氟丙烷滅火系統、三氟甲烷滅火系統為8s~10s;惰性氣體滅火系統為50s~60s;
3.6.2噴射壓力:在距噴嘴0.9米處測得壓力為1.4MPa±0.1MPa(+20°C~+22°C);
3.7稱重裝置:量程為0~150kg,分度值為2g;
3.8滅A類木垛火試驗:余火、復燃狀況采用紅外攝像儀記錄;
3.9噴嘴布置:
3.9.1全淹沒360°噴嘴布置:安裝在試驗空間中間位置;
3.9.2全淹沒180°噴嘴布置:安裝在試驗空間一側壁的中間位置。
3.9數據采集和控制:
3.9.1采用計算機+PLC+模組采集和處理;
3.9.2記錄試驗空間內各測氧點的氧濃度變化;
3.9.3記錄試驗空間內各測溫點的溫度變化;
3.9.4記錄滅火系統噴射延遲時間和噴射時間,噴嘴前壓力;
3.9.5滅火時間;
3.9.6釋放到試驗空間內的滅火劑總量;
3.9.7記錄滅A類木垛火試驗,10min浸漬期內有無余火或復燃狀況,以及浸漬時間內木垛表面溫度;
3.9.8木垛試驗前后的質量損失;